2024年成為兩輪電動車行業的政策大年。
工信部開啟新國標的修訂工作;三部門聯合印發《電動自行車行業規范條件》、《電動自動車行業規范公告管理辦法》,規范運營的廠商進入白名單。此外,《電動自行車電氣安全要求》和《電動自行車用充電器安全技術要求》強制性國標也開啟修改模式。
反映到需求端,消費者對產品及服務會有更高期待,需求滯后釋放,將在短暫觀望后選擇競爭力較強的品牌;在供給端,政策無疑會加速行業出清和整合,在存量競爭的背景下,企業之間的“勝負手”依然在創新和優化,將迎來新一輪產品和服務升級帶來的發展機遇。
在新的供需關系下,雅迪等龍頭企業或是能夠脫穎而出的玩家。從雅迪控股(以下簡稱“雅迪”)近日發布的2024年中期業績看到,其自身發展戰略長期契合政策導向,不斷兌現出了經營成果。
可以說雅迪是一個合適的觀察樣本,以其為窗口,或許能窺見政策給行業帶來的積極變化。
盈利質量進一步提高,抓住行業成長機遇
2019年新國標落地至今,兩輪電動車行業加速出清,資源集中度不斷提升,行業發展升級為比拼品牌和產品價值的“價值戰”。雅迪作為行業領跑者,實現連續七年全球銷量第一、全球用戶超8000萬。
回顧過去幾年,雅迪的收入整體都在保持快速增長,19-23年CAGR為23.77%,并且凈利潤率在2020年開始逐年提升。
可見,雅迪抓住了新國標帶來的發展機遇,在外部宏觀環境波動、頭部博弈加劇的背景下,面對“價值戰”能夠占據先機,展現出強大的規模效應和品牌價值。上一輪電動自行車新國標提出,正是雅迪業績快速上移的起點。

縱觀兩輪電動車行業發展,2013年以前,行業處于高速發展的增量市場,產品同質化缺乏高端;2013年-2018年行業進入存量競爭,渠道戰等加速行業洗牌;2019年-2023年,新國標對行業提出更高要求,行業的格局得到優化,逐步走上高質量發展。
而從市場數據可以看到,無論是在行業高速發展期還是有限的增量環境下,雅迪跨越每個行業階段,份額都保持著增長姿態。市占率從2013年不到10%,到2016年約11%,再到現在突破30%。

雅迪不斷對產能擴充升級,從探索高端化到實用價值,向市場交出換電系列、冠能系列、以及高端品牌飛越等,形成了行業爆款標桿,也滿足了市場多元化需求,引領整個行業向高品質和創新方向邁進。
在最新的行業政策引導之下,行業生產標準更趨向規范化,對產品生產、銷售和使用提出更高要求。這意味著過去純粹比拼銷量所帶來的邊際效應遞減,行業“價值戰”正加速回歸,而雅迪長期引領行業發展,則具備充足的實力率先抓住成長機遇。
技術創新引領高價值競爭,下半場雅迪繼續領跑
在行業上一個階段,仍有一些“灰色”廠商依靠簡單組裝、拼裝存活,這背后的質量和安全問題,反映出其在技術層面的落后,成為行業長期存在的痛點。
當政策進一步加速行業“優勝劣汰”,引導高價值競爭加劇,擁有核心技術的頭部玩家無疑會存活下來。從長遠來看,是否有技術不再是企業之間競爭的決定因素,而是不同的技術路線,不同的技術生態體系,決定行業中的座次排序。
在技術引領行業革新和升級上,雅迪給出的宗旨是以用戶為中心,做提升實際應用價值的科技創新。不久前舉行的“雅迪實用科技全球發布會”上,筆者有著深刻的體會。雅迪全球首發四大實用科技,圍繞續航、安全、舒適、智能,也是消費者關心的四大核心領域,做出技術升級。
可以看到,雅迪打造高價值的出行產品以及出行生態,通過在技術研發方面持續投入,不斷兌現出研究成果。自2016年上市以來,雅迪累計投入研發費用高達47.8億元,僅2023年就投入了11.92億元,足以體現其研發強度。
值得一提的是,不久前工信部發布第一批符合《電動自行車行業規范條件》的企業名單,雅迪赫然在列。據工信部消費品工業司司長何亞瓊介紹,“白名單”將成為對電動自行車企業實施各類政策的重要抓手。而湖北省已率先展開行動:8月27日,湖北省人民政府在相關發布會上宣布“白名單”被納入省電動自行車以舊換新的前提條件。也有專家預測,《規范條件》未來或將與全國各地區的以舊換新等政策補貼相掛鉤。可以預見,“白名單”將持續對行業發展起到關鍵指導性作用,而能夠在6家入選企業中占據“半壁江山”,無疑是官方對雅迪“硬實力”的高度認可。

以雅迪為代表的優質企業們正推動行業加速邁向健康可持續發展,憑借技術創新引領產業升級新的航向。
短期來看,政策引導行業格局優化,雅迪作為頭部企業將獲得更加有利的商業環境,收獲更多的業績增量。長期來看,雅迪積極研發投入、加速構筑競爭壁壘,引領行業高質量發展,也將隨之享受到超預期的利潤增長。
價值投資的稀缺機會,受益于產業持續繁榮
回到價值投資的邏輯,雅迪控股作為投資標的,其質地如何?從長期投資者關注的角度來看,可以用自上而下的方法來探討。
1)在政策層面,新國標帶來的置換紅利仍未完全釋放,加上今年陸續發布新的行業政策,淘汰置換的需求一直存在。加上大規模以舊換新政策在各城市陸續落地,讓兩輪電動車的更新需求得到進一步擴容。
根據德勤數據預測,2024年兩輪電動車行業62.1%的消費需求來自于替換需求,且我國兩輪電動車保有量達到4.2億,能穩定釋放較大規模的舊車替換需求。而消費者往往會樸素地選擇產品力更強、信任度更高的頭部品牌,這將為雅迪帶來銷售增量。
站在更大周期去看,在中國“雙碳”戰略持續升級、國家大力推進產業智能化、綠色低碳化的背景下,兩輪電動車作為國民級出行工具,可以期待未來更多政策推動行業發展,長期支撐市場穩步增長。
2)在市場層面,兩輪電動車是中短距出行剛需,消費者長期存在自行發起的消費需求。此外即時配送、共享出行等商業應用高速發展,其對兩輪電動車依賴度高,高頻用車特點促進購車換車周期縮短,為B端需求帶來增量。
此前通過觀察業績表現,已經驗證了雅迪具備技術創新和供給優質產品的實力,有望迎得產品維度高質量競爭,拿到C端和B端市場需求。隨著龍頭效應顯現,雅迪將享受到跑贏行業的α增長。
3)在商業層面,雅迪積極布局開拓新的增長點,已實現研、產、供、銷、服全面出海。近年來海外市場迎來新的發展機遇,兩輪電動車2023-2027年的銷量復合增長率預測達25.6%,雅迪面向的全球市場空間廣闊。
據研究機構Market Research Furture發布《電動兩輪車市場信息報告》指出,到2030年,兩輪電動車市場規模將超過1000億美元(約7000億元人民幣),2022年到2030年的年復合增長率為34.57%,這將是中國兩輪電動車企業的新機遇。
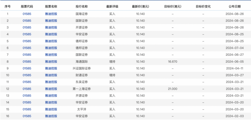
今年以來,雅迪的價值潛力備受專業機構認可。交銀國際在研報中指出,看好產業鏈中游的電動兩輪車制造商,最直接受益于電動兩輪車的需求增長。方正證券升雅迪控股評級至“強烈推薦”評級,德邦證券首次覆蓋給予“買入”評級,國泰君安首予“增持”評級。


所以,在多重積極因素影響下,兩輪電動車行業“水下的冰山”沒有完全呈現出來。
基于公司不斷提升的業務實力、產品實力、技術實力以及產業鏈實力等,雅迪將滿足日益旺盛的消費者需求,引領行業高質量發展。可見雅迪在兩輪電動車行業中具備“稀缺性”,作為投資標的,想象空間廣闊。
總結:
總的來說,隨著政策落地顯效,行業中長期將規范健康發展。雅迪以科技創新為主要驅動力,具備多維度的能力,將充分享受到市場發展紅利,貢獻業績保持增長。長期來看,雅迪的成長姿態是足夠清晰的,對長期投資者來說,會是難得的價值機會。
轉自:中國網
【版權及免責聲明】凡本網所屬版權作品,轉載時須獲得授權并注明來源“中國產業經濟信息網”,違者本網將保留追究其相關法律責任的權力。凡轉載文章及企業宣傳資訊,僅代表作者個人觀點,不代表本網觀點和立場。版權事宜請聯系:010-65363056。
延伸閱讀